MALE BRANCH TEE
DMBT
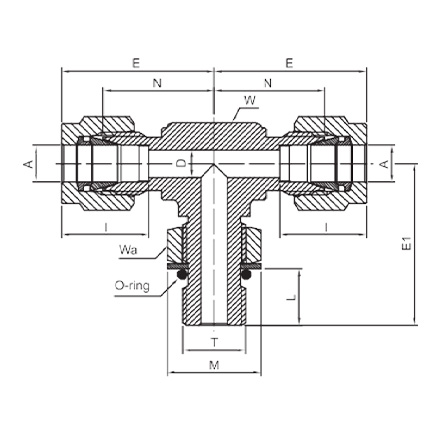
| TUBE TO SAE/MS STRAIGHT THREAD BOSS (POSITIONABLE) | ||||||||||||||||||||||
| PART NUMBER | A TUBE O.D. | T SEA/MS | D | W WRENCH FLAT | Wa HEX. FLAT | N | E | E1 | L | M | I | O-RING ** I.D | ||||||||||
| in | mm | in | in | mm | in | mm | in | mm | in | mm | in | mm | in | mm | in | mm | in | mm | in | mm | Dash no | |
| DMBT – 4 – 4ST | 1/4 | 6.35 | 7/16-20 | 0.19 | 4.8 | 1/2 | 12.7 | 9/16 | 14.3 | 0.83 | 21.1 | 1.12 | 28.45 | 1.12 | 28.45 | 0.39 | 9.9 | 0.65 | 16.5 | 0.60 | 15.3 | -904 |
| DMBT – 6 – 6ST | 3/8 | 9.52 | 9/16-18 | 0.28 | 7.1 | 5/8 | 15.9 | 11/16 | 17.5 | 0.97 | 24.64 | 1.26 | 32 | 1.27 | 32.26 | 0.44 | 11.2 | 0.79 | 20.1 | 0.66 | 16.9 | -906 |
| DMBT – 8 – 8ST | 1/2 | 12.7 | 3/4-16 | 0.41 | 10.41 | 13/16 | 20.6 | 7/8 | 22.2 | 1.07 | 27.43 | 1.48 | 37.6 | 1.49 | 37.84 | 0.5 | 12.7 | 1.01 | 25.65 | 0.9 | 22.9 | -908 |
| DMBT – 12 – 12ST | 3/4 | 19.05 | 1-1/16-12 | 0.62 | 15.74 | 1-1/16 | 27.0 | 1-1/4 | 31.75 | 1.22 | 31.24 | 1.63 | 41.4 | 1.91 | 48.76 | 0.65 | 16.7 | 1.45 | 36.6 | 1.0 | 24.5 | -912 |
| DMBT – 16 – 16ST | 1 | 25.4 | 1-5/16-12 | 0.88 | 22.35 | 1-3/8 | 34.9 | 1-1/2 | 38.1 | 1.5 | 38.35 | 1.98 | 50.54 | 2.1 | 53.6 | 0.65 | 16.7 | 1.72 | 43.94 | 1.22 | 31.2 | -916 |
| DMBT – 6 – 6ST | 3/8 | 9.52 | 9/16-18 | 0.28 | 7.1 | 5/8 | 15.9 | 11/16 | 17.5 | 0.97 | 24.64 | 1.26 | 32.0 | 1.27 | 32.26 | 0.44 | 11.2 | 0.79 | 20.1 | 0.66 | 16.9 | -906 |
| TUBE (INCH) TO ISO PARALLEL THREAD (POSITIONABLE)* | ||||||||||||||||||||||
| PART NUMBER | A TUBE O.D. | T ISO | D | W WRENCH FLAT | Wa HEX. FLAT | N | E | E1 | L | M | I | O-RING ** I.D | ||||||||||
| in | mm | in | in | mm | in | mm | in | mm | in | mm | in | mm | in | mm | in | mm | in | mm | in | mm | dash no. | |
| DMBT – 4 – 2PR | 1/4 | 6.35 | 1/8-28 BSPP | 0.16 | 4.0 | 1/2 | 12.7 | 9/16 | 14.3 | 0.77 | 19.6 | 1.06 | 26.9 | 1.04 | 26.4 | 0.32 | 8.1 | 0.68 | 17.3 | 0.60 | 15.3 | 8.0 |
| TUBE (METRIC) TO ISO PARALLEL THREAD (POSITIONABLE) | ||||||||||||||
| PART NUMBER | A TUBE O.D. | T ISO | D | W WRENCH FLAT | Wa HEX. FLAT | N | E | E1 | L | M | I | O-RING ** I.D | ||
| mm | in | mm | in | mm | in | mm | mm | mm | mm | mm | mm | mm | Dash no. | |
| DMBT – 6M – 2PR | 6 | 1/8-28 BSPP | 4.0 | 1/2 | 12.7 | 9/16 | 14.3 | 19.6 | 27.0 | 26.4 | 8.1 | 17.3 | 15.3 | 8.0 |
“D”- Dimension is minimum opening – dimensions are for reference only, and are subject to change without notice.
*SAE J 1926 and MS See page 61 for mounting dimensions.
**O-Rings used are Viton® 90 Durometer. Other O-Ring materials are available on request.